ШИНОРЕМОНТНЫЕ МАТЕРИАЛЫ ОБОРУДОВАНИЕ И ИНСТРУМЕНТ
-
Киевстар
-
Киевстар
-
Vodafone
| ПН-ПТ: | 09:00 - 18:00 |
| СБ-ВС: | выходной |
Ножничный подъемник SX07
Полноподъемный ножничный подъемник для поверхностного монтажа
Этот полноподъемный подъемник обеспечивает отличную высоту и беспрепятственный доступ для работы под транспортными средствами. Он идеально подходит для ограниченного пространства и идеально подходит для шиномонтажных и кузовных работ. Благодаря своей низкопрофильной конструкции, он также обеспечивает легкий доступ для различных транспортных средств, включая автомобили с низким шасси. Прочная конструкция оснащена технологией гидравлической блокировки PEAK, обеспечивающей исключительную производительность и безопасность в любом месте.
Грузоподъемность 3000 кг
Двойные группы из 4 гидравлических цилиндров обеспечивают выравнивание платформ
Автоматическое управление электрозащитным устройством, не требуется подключение воздуха
Автоматическая гидравлическая система блокировки
Низкопрофильный дизайн, минимальная высота всего 118 мм
Ножницы полного подъема, максимальная высота подъема 2000 мм
Прочные пандусы можно легко закрепить и использовать как удлинительную платформу до общей длины 2032 мм
Автоматическое защитное устройство остановки на 300 мм от земли при опускании
| грузоподъемность | 3000 кг | |
| время подъема | 42 секунды | |
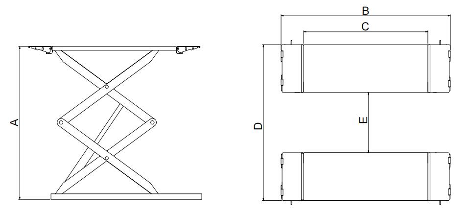
| максимальная высота подъема | А1 | 2000 мм |
| минимальная высота | А2 | 118 мм |
| общая длина | В | 2032 мм |
| длина платформ | С | 1464 мм |
| общая ширина | D | 1950 мм |
| расстояние между платформами | Е | 750 мм |
| двигатель | 2,2 кВт | |
| питание | 380 В / 50 Гц | |
| размер упаковки | 1700 х 700 х 490 мм | |
| размер упаковки шкафа управления | 478 х 428 х 1250 мм | |
| вес | 871 кг |

![]() |
![]() |
![]() |
| Легко открывающиеся пандусы можно использовать в качестве расширения платформы с дополнительной длиной 570 мм | Двойные группы из 4 гидравлических цилиндров обеспечивают выравнивание платформ | Ультратонкий дизайн, минимальная высота всего 118 мм |
![]() |
![]() |
![]() |
| Быстрое поднятие за 42 секунды на максимальную высоту подъема 2000 мм | Регулируемая платформа от 1464 до 2034 мм подходит для автомобилей с разной колесной базой | 2 комплекта резиновых накладок высотой 38 мм и 70 мм в стандартной комплектации |
![]() |
![]() |
||
| Дополнительный механический замок артикул SX002 |
Дополнительный комплект траверс артикул SX003 |
- БЕСПЛАТНО в пределах Киева, Днепра, Харькова, Львова, Одессы
- самовывоз со склада (контакты)
- курьерские службы: Новая Почта/Delivery/SAT
Доставка в пределах Киева, Днепра, Львова, Харькова и Одессы осуществляется бесплатно.
Для отправки в другие регионы мы пользуемся такими компаниями-перевозчикам:
- Новая Почта
- Delivery
- SAT
Если есть необходимость воспользоваться другим перевозчиком, уточняйте такую возможность у наших менеджеров.
Как правило, отгрузка производится день в день, а это означает, что уже на следующий день Вы сможете получить товар в удобном для Вас представительстве.
В сервисных центрах компании "АВТОМАШТЕХ" работают квалифицированные инженеры с высшим образованием. Мы регулярно отправляем наших сотрудников на обучение в компании-производители для изучения особенностей обслуживания того или иного оборудования.
Услуги сервисного центра:
- обслуживание и ремонт оборудования в гарантийный срок;
- обслуживание и ремонт оборудования в послегарантийный срок;
- просчет и установка воздушных систем;
- подбор и продажа запчастей на оборудование;
- предоставление рекомендаций по размещению оборудования.
|
г. Киев |
|
| г.Днепр ул. Большая Диевска.52 тел.: (+38 067) 538-70-14; GPS координаты: 48.4759497,34.909491. e-mail:dnepr@tiptop.com.ua |
|
| г.Львов ул. Химическая, 4 тел.: (+38 067) 240-03-60; GPS координаты: 49.8542624,24.0205183,17 e-mail: lviv.lviv@tiptop.com.ua |
|
| г. Харьков пр-т. Героев Харькова, 199 тел.: (+38 067) 693-13-57; GPS координаты:49.9770534,36.2952883. e-mail:e-mail: kharkov@tiptop.com.ua |
Цены:
Стоимость услуг сервисного центра договорная. Для уточнения, связывайтесь с нашими представительствами.
Обратите внимание на то, что гарантия предоставляемая нашей компанией не распространяется на электрическую часть оборудования, которое подключено к электрической сети без стабилизатора и анализатора фаз!








Об этом товаре пока нет отзывов